Social marketing in development

GERSON DA CUNHA

back to issue

‘SOCIAL changers’ and commercial marketers agree only exceptionally. But this they would both accept without demur: Development is a great and desirable stimulant of national markets. A few points of growth in incomes or heightened human aspirations in rural markets, and the big boys react – the heavy marketers as well as the development folk. India’s markets grow in importance to the country, naturally, but globally as well. (One even hears whispers that the world crowns that our Miss Indias keep winning, honour not just the loveliness of our ladies but the size of our cosmetics market as well; pure malice of course).

So one would imagine that all things benefiting development would be devoutly supported by its proponents. And of these, successful strategies born in the hurly-burly of commerce would surely be accepted instantly into the heart of development planning. Strangely this does not happen, even with something as self-evident as social marketing. This is deserving of some reflection. It is also something that must change.

Development programmes are often irritating given the closed minds of their planners. Such persons will often simply shut out concepts they have not evolved themselves, or those from other fields, however relevant. So public health work is imperially led by epidemiologists, though the projects themselves are behavioural in substance, being about change in attitude and practice. Social psychologists and pedagogues reign in literacy programmes, though the task usually has much to do with economics and, once again, with people needing to adopt new practices.

One would have thought that programme planners would sift and seek relevant models for helpful principles and strategies. But, no. All too often will a water and sanitation project, or action for better maternal and child health, start at square one, even with a certain arrogance in their modesty (‘We are starting from basics!’ ‘We will learn as we go!’). It is as if nothing had been tried before in the field, or there was nowhere else from which anything is to be learned. Which of course is nonsense.

Reproductive Child Health (RCH) programmes – once, family planning – have dropped the ‘target-based’ approach. There has been a ‘paradigm shift’. But in these polysyllables rooted in Greek, and perhaps still hovering in that language for some, lies the need for straightforward demand creation. For that, the required ideas and strategies must surely come from commerce, not the medical sciences. It is intriguing that here, as in similar fields, marketing methods do not beat at the heart of development programme planning.

 

 

In practice, development and marketing are both about modifying group behaviour – the one in a community, the other in a market. In either case, the quarry is an elusive target. Both must deal with resistance to change and competition for attention and/or clientele. Both need clear, strong distribution channels for ideas and products. Both require a price to be paid by those benefited or canvassed. Both seek long-term adoption of what they offer. Profit is the goal – social in the one case, commercial in the other.

Small wonder that marketing concepts and methods have worked well in social programmes when properly used. The wonder is that they are not routinely applied, at least not in the so-called Third World, where the issues are life and death, the scale is vast and, therefore, the need for the best tools crucial. Social change and marketing are of course different, as we shall see. But the similarities are sufficiently striking for the term ‘social marketing’ to be defensible.

It is extraordinary how much resistance is stirred up when the term is so much as uttered in the same breath as action in the hallowed fields of human rights, or HIV/AIDS prevention and control, or indeed development initiatives in general. ‘You can’t sell development like a certain dark cola’ is the cry. But you can, when you use the concepts and methods correctly. It works. Resistance is now beginning to be seen for what it is, sheer bias and therefore to be dismissed. Development, particularly in our part of the globe, is too important to become a victim of ignorance in this key area of attitudinal and behavioural change.

 

 

We might need to recognise here the different meanings given to the term social marketing in different circles. For some it is the sale, at discounted rates, of contraceptives for men or women, or of oral rehydrates. The present commentary derives the term from the definition of marketing. It then develops a brief discussion of six concepts conventionally covered by the term and the way they apply to social interventions.

Definitions are best avoided but explanations are sometimes essential, if only for the sake of good order. Marketing then, may be seen to be a process that identifies an unmet consumer need and satisfies it at a profit. Typically, it involves commercial products and services, possessing brand identities amid competition. The classic considerations of marketing are consumer, product, competition, price, promotion and distribution. It is ‘a neutral methodology, and social marketing is its adaptation to social imperatives’ (Manoff 1987, Social Marketing, p. 7).

 

 

Consumer: Marketing begins and ends not, as you would imagine, with profit but with the consumer – on whom in fact profit turns, if s/he is creatively addressed by the product and promotion. Therefore, much study of the potential consumer, his/her needs, perceptions, demographics and exposure to communication precedes any marketing decision. Not so in social change. Here, what the project wants the citizen to know/do/believe is primary and the starting point. The marketing stance is humbler. It does not ask questions already sure of the answers (‘Nutrition problems? Let’s tell them about the balanced diet.’) This is its people-centred characteristic, hence its social relevance.

Product: Creating new consumer behaviour, the heart of marketing, leads at once to consideration of the product. In development projects, individuals/communities need appealing ‘products’ to adopt, not a set of instructions and ominous warnings. People buy benefit. A creative confection of facts is necessary, of the kind that transfigures lumps of sodium stearate into desired tablets of soap, milled, perfumed, pastel-hued. Thus, target groups in family welfare must be sold not the ‘small family norm’ but the better health smaller families enjoy. The idea of such health must be crafted from elements valued by target families, then used to package a desired practice.

In growth monitoring of infants and its promotion, the product to be marketed cannot be baby’s growth chart, or the scales, as happens so often. It could only be ‘healthy growth’, something momentous for mothers. Such considerations are important because the perceived benefit of a product (say, a particular practice) must always be greater than perceived ‘cost’.

Price/cost: In the marketplace, price is obviously the money transacted. In development, it is an element of sacrifice: the extra time and/or new effort involved in a new behaviour, or the peer group disapproval that the innovator must endure. Many practices thought to be beneficial or free are not in fact so, and are ‘costly’.

Breastmilk does not come free. A mother pays a performance price in many different ways, from dealing with sore nipples and often a disgruntled husband, to coping with deep-seated feelings of inadequacy, subsequently transferred to her perception of the quality of her breastmilk. Many communities prefer the ‘sweet’ water of the old contaminated pond (‘better for cooking’) to the ‘salty’ water of the handpump. Unless the ‘social cost’ of new behaviour is recognized, not enough will go into enhancing the value and appeal of the breast-feeding practice, or the value of safe water from the handpump.

 

 

Communication and promotion: Indispensable to creating demand and adding value to a brand, advertising is commercial mass persuasion. The advertising plan identifies who shall be addressed, with what messages, through which channels, to what purpose. Advertising is the centrepiece of promotion in marketing. Properly handled it can make an enormous difference in development programmes because it is a prime instrument of persuasion, indispensable to the behaviour change action that most of them demand.

Distribution: Frequently neglected in social programmes, but always planned by the social marketer, is distribution. In health or family welfare, clinics are the distribution outlets of products, which may be three-dimensional, or messages. Neglecting them, or allowing staff to stay untrained, or routinely absent, is as absurd as manufacturing a product, advertising it and then allowing the shops to go unstocked. Yet this is the constant reality.

Competition: Competition is regularly and fatally disregarded in the behavioural change transaction. It is always present as the other options available to, say, the housewife whom we would like to see at the immunization post. She may succumb instead to competing domestic demands or, strongest of all, the inertia of past (non) practice. Such competition adds to performance cost. Its power emphasizes anew the importance of enhancing the competitive ‘product appeal’ of the practices we are promoting.

 

 

This sort of thinking is a world away from the philosophies and methods animating conventional programmes for social and development change. In this sphere of harsh reality, a peculiar unreality prevails. For instance, and to exaggerate only slightly, change in health practices is considered the inevitable consequence of just planting a health service in the community. When the intervention grows a mite more sophisticated, new behaviour is seen to be a function of community ‘awareness’ or appropriate ‘education’. These beliefs contain lethal doses of half-truths. They are the equivalent of a marketer believing that a good product merely needs to be stocked in a shop to sell itself profitably, or that advertising of the brand is all that really deserves attention, never mind making a good product and distributing it well.

One of the most tragic of spectacles in social intervention is waste, especially when it is avoidable and indulged in all honesty. An example would be any programme that uses all communication channels to say everything to everybody. When this happens, it is evidence, not just of extravagance but of poor target group identification. It is second nature in a marketing person to ask and establish whose behaviour(s) must change, how, and to what end. In the absence of this framework, other sins get committed. There is nothing, for instance, to prevent irrational stop-go activities, which may suddenly stop for good, well before enough benefit has been won.

In marketing, message crafting is of fundamental importance. It is ill-considered in programmes for social change. Worse, there is never a shortage of expertise on technically correct content. Experts will often insist on transmitting a whole filigree of related messages. And so one gets that hopeless dispersal of message, the 12 or 25 health points triumphantly broadcast as 30-second radio spots over three months. Consider the confusion, the cost of adequate repetition and, ultimately, of acceptance. This is the illusion of communications, something that marketing thinking automatically avoids.

The key point to note here is that marketing is an interlinked set of concepts and methods that the marketer instinctively activates, addressing them logically and without exception in a settled process. It is a process that has emerged from an unforgiving school.

 

 

Errors in marketing show up unmistakably as declining market share, unmet targets, financial loss. All very visible and verifiable. The marketplace is a Roman circus teaching unforgettable lessons. Theory, shoddy thinking and planning, false theories, and irrelevancies get put to the sword of profit and loss. This is how the experimental and empirical framework of marketing experience toughens and evolves.

It is different in the fields of social intervention. The resident culture here is pioneering and seen as investment in change. It is gentle with failure. Hence error is often compounded, not checked. Here is an area of no bottom lines, lacking proper indicators. Here also is the crying need for robust conceptual maps and sure routes that can guide one past waste and make good any lack of experience.

 

 

Social marketing could provide such guidance and certainly an operational framework. It is quintessentially a methodology that responds to human need and desires. There is even a certain illogicality in rejecting the marketing model as a resource. When we do so, we sweep aside something born in the exacting and costly wedlock of science and the marketplace. We reach instead for a novice-crafted tool, which often starts being fashioned when a project gets underway! Social marketing could provide at least as effective a checklist as medicine or social anthropology, those hallowed disciplines of development.

We may be staring here at a signpost on the way to a holistic model for addressing attitude and behavioural change. Such a model when finished would save time, resources and opportunity. It would also obviate the decision making by whim or irrelevant discipline, e.g., paediatricians making technical decisions on target groups, message and media.

Of course, this is no magic wand. It is in fact far more complex and exacting than commercial marketing, and therefore liable to more frequent failure. By definition, it proposes new and demanding behaviour, often flying in the frowning face of culture or tradition. There is rarely any satisfaction delivered to imprint a practice and make it behaviour. Better hygiene does not instantly reward one, like headache pills or fizzy drinks do. To be successful, social marketing must win greater battles. It cannot be satisfied with the 5 or 10 per cent shifts in market share that are the triumphs of the consumer goods field. Social marketing must aim at 100 per cent conversion to its propositions.

Greater the reason then for development programmes to employ validated methodologies. If nothing else, they provide social action with a simple checklist for analysis and planning that ensures greater rigour of method and thought. Implementing the approach obviates the downside of ad-hocism and bright ideas that so often masquerade as strategy. In a way, it is little wonder they are so little used in development!

 

 

It is not as if social marketing is a universal dead letter. In India and abroad, the concepts and methodologies have been used, if not comprehensively and for adequate time then at least to initiate and frame.

Good instances are the National Technology Missions in India, featured on the development scene a decade ago. They comprised telecommunications, literacy, immunisation, drinking water and oilseeds. All of them, except perhaps telecom which had major technical and hardware components, had much to do with people and their behaviour. For instance, a mother had to take her infant for five immunisation shots when she had done nothing like it ever before. Adults had to make time in tired, crowded lives for literacy classes, usually at night. Communities were required to change drinking habits, shifting from the ‘sweet’ but polluted waters of the local pond to the ‘salty’ but safer product of the new handpump, which they had also to maintain in good repair. The Indian public, especially in north India and Gujarat, had to be made aware of the enormous amounts of cooking oil it consumes and the need to cut down for health reasons.

 

 

As if this were not enough, there was the daunting task of fostering changes in attitude and practice among concerned government cadres, e.g., the public health engineering departments in water supply, the health departments to maintain cold chains in immunisation programmes, the huge but inactive operatives of state education departments and the state mechanisms concerned with bringing more land under oilseeds, growing the right strains, extracting more oil and containing price speculation – to say nothing of the need to do all this at central level and in the states. Somehow, it all got done, in some places better than in others.

After argument and haranguing, three advertising agencies were actually appointed to help. Memorable programmes were evolved to promote immunisation, safe drinking water and literacy – these after quite straightforward application of the classic methodologies outlined in earlier paragraphs.

The results were dramatic, not of course exclusively the outcome of proper marketing, but this had something to do with the drama. In a few short years, polio came close to being wiped out in some states and immunisation levels sprang in eastern U.P. and north Bihar from percentages in their teens to 80% and 85% of children in the target age groups. In three years, 160,000 ‘problem’ villages received at least one source of safe drinking water. The communication programme for literacy worked so well that a 30-second echo of it still runs, now some ten years later on Doordarshan.

But the bad news is that these advances were taken nowhere after Sam Pitroda, head of the missions, was driven out by elements of the V.P. Singh government and his wonderful crop of mission directors got transferred in the normal course. Some recent projects to promote lower fertility and contraceptive adoption are beginning to look at this tool anew, though not all of them see that you either install the whole engine or get left with a stalled shell.

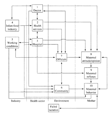
In quite another part of the forest, in Brazil, UNICEF and the ministry of health collaborated in what became a model programme to promote breast-feeding, the lessons of which became widespread in application. Here again the framework and checklist of social marketing helped analyse, plan for and then stop the catastrophic decline in breast-feeding practices in key Brazilian cities and actually to reverse the trend. Six vital target groups were addressed by a mix of marketing methods matched to group and purpose. Figure 1 below illustrates the complexity and spread of the action.

The Indonesian Nutrition Education and Behaviour Change Project yielded good results, if on small scale. Using volunteer health workers, specially designed training materials, focus group research and mass media, the project showed improvement in the nutrition status of target children through the use of communication/education alone. There was no feeding component. Domestically available foodstuffs were made full use of, and the communication/education cost was kept low.

In Egypt, a diarrhoea management social marketing programme used mass media systematically for the first time. This alone increased the use of oral rehydration salts from one per cent to nearly 70 per cent of diarrhoeal episodes in the researched region, in less than two years time.

In Colombia and Turkey, the action to immunize children acquired national momentum, attracting resources from the armed forces and religious establishments, increasing coverage many times over.

 

 

There are those who regard social marketing as the devil’s own work, at best something ignoble. It is supposed to cause a ‘vertical’ imposition of ideas evolved with no consultation of the community. Or, it operates at an unfair ‘subliminal’ level.

The ‘subliminal’ fabrication has been debunked too firmly to be taken seriously. As for the rest, clearly the messenger is being mistaken for the message. Because marketing transacts mostly in products and services considered trivial, the process becomes coloured in some eyes with the same candy stripes. But it is social marketing that places the individual and the community at the centre of its world. It is more observant of local culture and individual perception than the process often passing for ‘education’ and certainly than conventional medical prescript and direction.

On its heart are carved two fairly simple thoughts. The individual must have the freedom to choose. The community has common sense; it must be allowed to decide. Marketing, for all the suspicions it arouses in purist hearts, is the best server of those propositions.

 

FIGURE 1

Principal Target Groups and Forces Acting Against Breast-Feeding

 

 

 

Source: Gerson da Cunha, UNICEF, Brasilia.

 

top